2023年,杭州市为推动医药产业进步,根据《关于组织申报创新优质杭产药械推荐目录通知》相关要求。
经企业申报、区县初审、专家评审,浙江普利左氧氟沙星、奥卡西平片2款产品入选“杭州市创新优质杭产药械”推荐目录。

出口欧盟高品质左氧氟沙星片,持续惠及更多患者

左氧氟沙星是喹诺酮类抗生素。浙江普利的左氧氟沙星片于2018年启动研发,后分别递交了欧盟(荷兰和德国)和中国注册申请,属共线生产药品,并且被纳入了优先审评品种。该药品分别于2020年6月和8月获得荷兰药物评价委员和德国BfArM所签发的上市许可,于2021年1月在国内上市并在第四批国家集采中中选。
药融云数据显示,浙江普利左氧氟沙星片在同通用名口服常释制剂中销售数量排名前列,大大超过了国家集采约定采购量。这不仅与公司积极响应国家集采的政策密不可分,也与公司多年来坚持药品国际化战略,严控药品品质息息相关。良好的市场表现反映了临床医生和患者对出口欧盟品质药品的认可,更加坚定了普利致力于为中国老百姓造高品质药的决心。
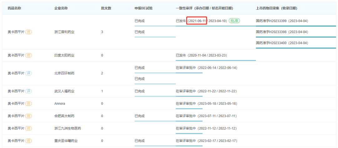
浙江普利奥卡西平片首家过评,抢占替代原研先机

奥卡西平为抗癫痫药物。米内网数据显示,奥卡西平国内市场超过5亿元(约2亿片,以300mg/片计),整体市场稳定。

浙江普利的奥卡西平片启动研发后分别递交了欧盟(荷兰和德国)和中国注册申请,属共线生产药品。该药分别于2022年3月和10月获得荷兰药物评价委员和德国BfArM所签发的上市许可,于2023年4月在国内上市,是国内首家过评品种。与其他在审评中厂家相比,浙江普利提前至少1年布局该药品,为该药品实现原研替代抢占先机。

乐动体育APP网站/手机版下载/官网登录入口